科里奥利质量流量计的工作原理是利用科里奥利效应来测量流体质量流量。
科里奥利质量流量计是一种利用科里奥利效应来测量流体质量流量的仪表。科里奥利效应是指,当流体通过横向受约束的管道时,由于流体的自身转动和流体分子间的碰撞,将会产生一个垂直于流体流向和磁场方向的横向温差。科里奥利效应是因为通过横向受约束的导线上的电流感应出的磁场与流体中的电子与离子的相互作用引起的。科里奥利质量流量计基于运动力学原理运作。当过程流体进入传感器时,流体将分离。在测量过程中,驱动线圈会激励管道以其固有共振频率相向振动。管道振动时,每个传感器上产生的电压会形成一个正弦波。这可表示一个管相对于另一个管的运动。两个正弦波之间的时间滞后称为Delta-T,该数值与质量流量成正比。当没有流体流过时,振动管不产生扭曲,振动管两侧电磁信号检测器检测到的信号是同相位的;当有流体经过时,振动管在力矩作用下产生扭曲,两检测器间将存在相位差。变送器测量左右检测信号之间的滞后时间,这个时间差乘上流量标定系数就可确定质量流量
参数:
U型


微小型


微弯型


低温型


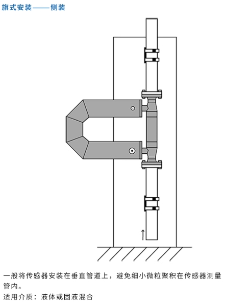
安装:



